Мы используем cookie для наилучшего представления нашего сайта. Подробнее об этом в Политике конфиденциальности.
Ок

Абакан

Ваш город:
Абакан (Республика Хакасия)?
Нет
Да
Каталог
Каталог Написать в WhatsApp
Мотоэкипировка

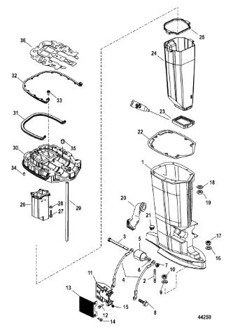
Корпус карданного вала и выхлопная труба 2-Х ТАКТНОГО ПЛМ MERCURY 150 PRO XS L OPTIMAX Серийный номер от 1B690542 и выше

Корпус карданного вала и выхлопная труба 2-Х ТАКТНОГО ПЛМ MERCURY 150 PRO XS L OPTIMAX Серийный номер от 1B690542 и выше в Красноярске: актуальный каталог, цены, фото, описание. Купите корпус карданного вала и выхлопная труба 2-х тактного плм mercury 150 pro xs l optimax серийный номер от 1b690542 и выше в кредит – оформите заявку онлайн за 1 минуту!

Оригинальные запчасти

Артикул НАИМЕНОВАНИЕ Кол-во деталей в узле Примечание Наличие Цена Аналоги Фото
1 8343T10 DRIVESHAFT HOUSING

Под заказ

1

Под заказ

уточнить

Купить
2 813563T1 DRIVESHAFT HOUSING

Под заказ

1

Под заказ

уточнить

Купить
3 56295 STUD

Под заказ

2

Под заказ

уточнить

Купить
4 898831 Болт (SCREW)

Под заказ

2

Под заказ

уточнить

Купить
5 88238A10 Кабель (CABLE ASSY)

Под заказ

2

Под заказ

уточнить

Купить
6 77327 MOUNT (LOWER)

Под заказ

2

Под заказ

уточнить

Купить
7 49339 Шайба (WASHER)

Под заказ

2

Под заказ

уточнить

Купить
8 898832 Гайка (NUT@5)

Под заказ

2

Под заказ

уточнить

Купить
9 41508 SCREW

Под заказ

1

Под заказ

уточнить

Купить
10 45176 Шайба (WASHER, GEAR HOUSING STUDS)

Под заказ

2

Под заказ

уточнить

Купить
11 8M0036782 CLAMP

Под заказ

2

Под заказ

уточнить

Купить
12 66727 Болт (SCREW@5)

Под заказ

4

Под заказ

уточнить

Купить
13 48926 WASHER

Под заказ

1

Под заказ

уточнить

Купить
14 34933 Гайка

Под заказ

1

Под заказ

уточнить

Купить
15 69254 NUT, POWERHEAD STUDS

Под заказ

4

Под заказ

уточнить

Купить
16 8M0039081 BOOT

Под заказ

1

Под заказ

уточнить

Купить
17 64649 Заглушка (PLUG, PLASTIC - TRIM TAB SCREW HOLE)

Под заказ

1

Под заказ

уточнить

Купить
18 991734 Прокладка (GASKET)

Под заказ

1

Под заказ

уточнить

Купить
19 66350001 SEAL (Lower)

Под заказ

1

Под заказ

уточнить

Купить
20 18276T EXHAUST TUBE

Под заказ

1

Под заказ

уточнить

Купить
21 8M0039076 Уплотнитель (SEAL)

Под заказ

1

Под заказ

уточнить

Купить
22 8M0047679 EXTENSION ASSEMBLY, Exhaust

Под заказ

1

Под заказ

уточнить

Купить
23 35044 WASHER, (.281 x .625 x .065) Stainless Steel

Под заказ

4

Под заказ

уточнить

Купить
24 8M0042788 TUBE-WATER-LONG

Под заказ

1

Под заказ

уточнить

Купить
25 8M0042790 TUBE-WATER

Под заказ

1

Под заказ

уточнить

Купить
26 18233A20 DRIVESHAFT HOUSING PLATE

Под заказ

1

Под заказ

уточнить

Купить
27 8M0043165 Уплотнитель (SEAL-27.00 INCH)

Под заказ

1

Под заказ

уточнить

Купить
28 68011 BRACKET, SEAL RETAINING (BLACK & GRAY)

Под заказ

1

Под заказ

уточнить

Купить
29 878608 SCREW, (#10-16 x .500)

Под заказ

12

Под заказ

уточнить

Купить
30 43044 Штифт (PIN, Dowel - Without Hole (.375 x .625))

Под заказ

2

Под заказ

уточнить

Купить
31 38970 Сальник (SEAL @5)

Под заказ

1

Под заказ

уточнить

Купить
32 183076 Прокладка (GASKET)

Под заказ

1

Под заказ

уточнить

Купить
33 8M0046714 Набор прокладок (GASKET SET)

Под заказ

1

Под заказ

уточнить

Купить

Нулевая цена не означает отсутствие товара. Оформите заказ, и менеджер сообщит вам цену и наличие товара, предварительно запросив их у поставщика

Главная Магазины
Корзина0
Профиль